关于智杰
生产中心
产品中心
信息中心
联系我们
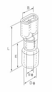
母全绝缘端头
站内搜索
产品中心
端头类型说明
预绝缘端头系列
双压式预绝缘端头系列
易进线式预绝缘端头系列
绝缘端头系列
尼龙绝缘端头系列
尼龙预绝缘端头系列
裸端头系列
连接器系列
热缩型端子系列